Каталог продукции
Кран шаровой К100-20 (К100-12, К100-6, К100-20-ОД, К100-12-ОД, К100-6-ОД)
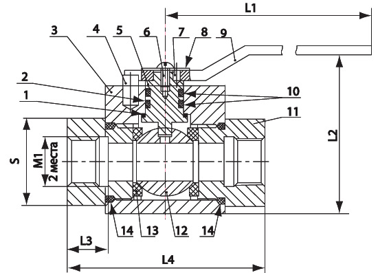
1 — Шайба трения
2 — Кольцо защитное
3 — Корпус
4, 7 — Штифты
5 — Валик
6 — Винт
8 — Шайба
9 — Рукоятка
10, 14 — Кольца уплотнительные
11 — Штуцер
12 — Затвор
13 — Уплотнитель
| Обозначение | М1 по ГОСТ 6357-81 | мм | ||||
| L1 | L2 | L3 | L4 | S | ||
| К 100-6 | G ¼ | 116 max | 59 max | 16±0,2 | 80 max | 19 |
| К 100-6-ОД | ||||||
| К 100-12 | G ½ | 116 max | 71 max | 20±0,2 | 97±0,8 | 27 |
| К 100-12-ОД | ||||||
| К 100-20 | G ¾ | 150 max | 89 max | 21± 0,2 | 101 max | 41 |
| К 100-20-ОД | ||||||
Техническое описание и инструкция по эксплуатации К100-20 ТО.
Распространяется на К100-12, К100-6, К100-20-ОД, К100-12-ОД, К100-6-ОД.
-
Назначение
Кран шаровой К100-20 (К100-12, К100-6, К100-20-ОД, К100-12-ОД, К100-6-ОД) предназначен для перекрытия трубопроволдов.
-
Технические данные
- Проход условный присоединительных мест:
- ДN 20 — К100-20, К100-20-ОД
- ДN 12 — К100-12, К100-12 ОД
- ДN 6 — К100-6, К100-6-ОД
-
- Рабочая среда:
- воздух, природные углеводородные газы — для изделий К100-20, К100-12, К100-6, К100-20-ОД, К100-12-ОД, К100-6-ОД;
- -одорант (C2H5SH) — для изделий К100-20-ОД, К100-12-ОД, К100-6-ОД.
-
Давление номинальное (условное) рабочей среды PN100 – 10МПа (100кгс/см2) —
для изделий К100-20, К100-12, К100-6.
- Давление при срабатывании крана — 7,5 Мпа (75 кгс/см2) — для изделий К100-20, К100-12, К100-6
- Давление номинальное (условное) рабочей среды и давление при срабатывании PN16 – до 1,6МПа (до 16 кгс/см2) — для изделий К100-20-ОД, К100-12-ОД, К100-6-ОД.
-
-
<Температура рабочей среды:
- от минус 50 до +100ºС — воздух, природные углеводородные газы;
- от минус 40 до +50ºС — одорант.
-
- Температура окружающей среды:
- от минус 40 до +60ºС — для изделий К100-20, К100-12, К100-6;
- от минус 40 до +50ºС — для изделий К100-20-ОД, К100-12-ОД, К100-6-ОД.
- Внутренние перетечки через затвор:
- по ГОСТ 9544-93, класс С;
- не более 2,5 см3/мин — К100-12;
- не более 1,0 см3/мин-К100-6.
- Для изделия К100-20 — не более 7 см3/мин.
